一種旋轉式石材樣品展示架的設計方案
發布時間: 2016-01-26 13:48:50 來源: 廈門謙帆展具
展示架主要用來展示商品,廣泛應用到現代的商業活動中。現有的展示架中,有一些旋轉式的展示架,主要是 在采用電機驅動置物板做旋轉運動,這種旋轉是在水平面內,雖然這種展示架方便人們在一個位置即可參觀前后置物板上出展的物品,但是下方的置物板出展物品仍然需要人們彎腰或者蹲下才能仔細查看,對一些身體有恙或在擁擠的場合顯得非常不便,因此需要作進一步的改進。為解決現有技術的不足,本設計提供了一種可上下旋轉的展示架。
技術方案:
一種旋轉式展示架,包括底座,該底座包括平行的左、右側板,所述左、右側板上均設置鏈輪組,所述左側板上的鏈輪組和右側板的鏈輪組對稱,所述鏈輪組包括上鏈輪和下鏈輪,所述上鏈輪和下鏈輪上套接有鏈條,左、右 側的鏈條之間均勻分布有相互并行的若干橫桿,所述橫桿的左右端分布鉸接在左、右側的鏈條上,所述橫桿上固定 連接有置物板,所述置物板的底面固定連有重塊,一傳動軸的左右端分別固定連接在左、右側的上鏈輪或左、右側的下鏈輪上,一電機的輸出端與該傳動軸固定連接。
具體實施方式:
以下將結合實施方式和附圖對設計創造的構思、具體結構及產生的技術效果進行清楚、完整的描述,以充分地 理解本設計創造的目的、特征和效果。本設計創造中的各個技術特征,在不互相矛盾沖突的前提下可以交互組合。
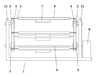
參照圖1,一種旋轉式展示架,包括底座1,該底座1包括平行的左、右側板11、12,所述左、右側板11、12上 均設置鏈輪組,所述左側板11上的鏈輪組和右側板11、12的鏈輪組對稱,所述鏈輪組包括上鏈輪2和下鏈輪3,所述 上鏈輪2和下鏈輪3上套接有鏈條4,左、右側的鏈條4之間均勻分布有相互并行的若干橫桿5,所述橫桿5的左右端分 布鉸接在左、右側的鏈條4上,所述橫桿5上固定連接有置物板6,所述置物板6的底面固定連有重塊7,一傳動軸8的 左右端分別固定連接在左、右側的上鏈輪2或左、右側的下鏈輪3上,一電機9的輸出端與該傳動軸固定連接。
進一步改進的實施例,所述傳動軸8的左右端分別固定連接在左、右側的下鏈輪3上。傳動軸8設置在下鏈輪3上,便于電機9的安裝,此時的電機9可直接放置的底座1上。另外,所述底座1為鋁合金構件。
本設計通過設置上、下鏈輪2、3,并在鏈輪上套接鏈條4,利用電機9驅動鏈輪旋轉,從而使鏈條4帶動橫桿5和置物板6上下往復旋轉,參觀者不需彎腰或者蹲下即可查看到所有置物板6上的展出物品。
以上所述只是本設計較佳的實施方式,其并不構成對本設計保護范圍的限制,只要是以基本相同的手段實現本設計的目的都應屬于本設計的保護范圍。
















